本教程主要使用Illustrator使用网格工具制作逼真的红苹果,网格工具是AI最重要要的功能之一,希望大家可以通过这个教程对网格工具更多的了解和掌握,下面一起来学习吧。
先看看效果图

1、先画线稿,大家应该都会了,但这里要注意以下,线跳一定要精简,能一个点完成的形状最好是一个点,这便于以后的操作;

2、找到网格渐变工具,也可以直接按“U”

3、把苹果主体填充颜色

4、按“U”后在上面点击,创建第一个格点

继续增加,如图

直到变成

本教程主要使用Illustrator使用网格工具制作逼真的红苹果,网格工具是AI最重要要的功能之一,希望大家可以通过这个教程对网格工具更多的了解和掌握,下面一起来学习吧。
先看看效果图

1、先画线稿,大家应该都会了,但这里要注意以下,线跳一定要精简,能一个点完成的形状最好是一个点,这便于以后的操作;

2、找到网格渐变工具,也可以直接按“U”

3、把苹果主体填充颜色

4、按“U”后在上面点击,创建第一个格点

继续增加,如图

直到变成

2 月 9 日消息,雷神 (THUNDEROBOT) 现已宣布推出基于英
2 月 10 日消息,制造商 Musnap 现已在海外推出一款 Oce
Illustrator网格工具制作逼真的红苹果教程
26-02-25被猛批后,游戏社交平台 Discord 年龄认证计划推迟至下半年上线
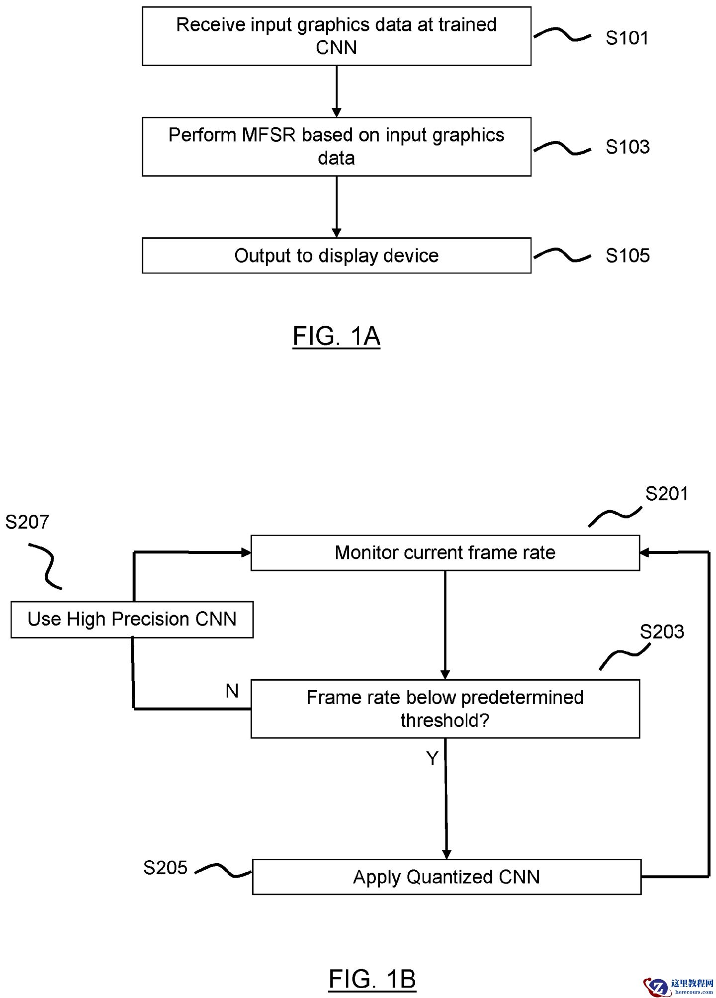
26-02-25索尼 PSSR 画质增强专利获批:实时量化调节 AI 精度,遏制游戏掉帧
26-02-25win11系统如何开启自带的FPS显示?
26-02-25英伟达招聘 Linux 工程师,有望为游戏掌机芯片铺路
26-02-25win11键盘锁定了怎么解除操作方法教程
26-02-25